RegO LV5503B8液化气调压器

RegO LV5503B8液化气调压器
  • RegO LV5503B8液化气调压器_1
  • RegO LV5503B8液化气调压器_2
品牌:
RegO/力高
型号:
LV5503B8
材质:
石墨铸铁
连接尺寸:
3/4"
应用范围:
工商业
连接方式:
螺纹连接
适用介质:
天然气、液化气

 REGO LV5503B6 系列液化气调压器参数表 

型号 进口尺寸 出口尺寸 可调压力范围 流量大小 调压类型
LV5503C4 1/2"F.NPT 1/2"F.NPT 228-330mm.wc 32kg/h  单级调压
LV5503B4 1/2"F.NPT 3/4"F.NPT 36kg/h  二级调压
LV5503B6

 

3/4"F.NPT

 

 

1"F.NPT


228-330mm.wc
LV5503B8 300-710mm.wc 52kg/h 
LV5503H820 710-2134mm.wc 40kg/h
LV5503H840 35kg/h

 

 

 

 

 

 

REGO力高二级调压器产品技术特性 

美国REGO力高液化气调压器,多种出口压力可供选择,全天候设计,安全简单。

二级调压器特点,外置式喷嘴易于更换和清理,内置式平行枢轴设计、有效地确保完全关闭、织质皮膜,采用往复式设计及压膜技术,精确耐用。大阀及盖孔,按照美国UL要求设计,并配有过滤网及螺纹接口。

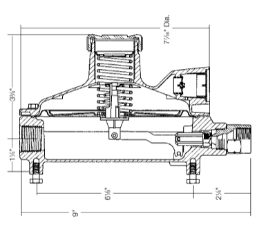
rego LV5503B8液化气调压器结构图

你是不是在找:

二级调压器

查询产品: RegO LV5503B8液化气调压器

产品查询

*品牌:

*分类:

*型号:

*数量:

删除
公司名称
*联系人
*电邮地址
联络电话
主题
信息
*必需填写
 
QQ在线咨询
售前咨询热线
0755-82312986
售后咨询热线
0755-82313986